本篇文章內容由[中國幕墻網ALwindoor.com]編輯部整理發布:
隨著國家對建筑節能的要求和相關行業標準的完善,系統門窗正在逐漸被市場認可和接受,盡管與國外成熟的系統門窗相比我們還有很多不足,但是系統門窗的發展已經勢不可擋。“系統”的核心在于研發,國外大多數系統門窗公司都有非常完善的研發中心,研發的資金亦是它們成本的最主要組成部分。研發過程不僅需要考慮門窗如何適應氣候,五金、型材、密封產品等如何設計或選擇以達到最佳適配性和最優節能性,甚至需要應對當地特殊的氣候條件和地理條件。
可以說系統門窗的推廣和應用,在某種程度上能有效促進國內建筑門窗企業戰略轉型,并在研發方式和商業模式上進行創新。就研發方式來說,傳統門窗行業以往各自為戰的研發模式已經不能滿足系統門窗的需要,門窗系統(詞條“門窗系統”由行業大百科提供)結構中無論哪一組成部分的研發都不應將目光局限于自己的小領域,更應注重系統組件之間的適配與銜接,注重協同研發。
目前國內門窗市場以鋁合金和塑鋼為主,盡管斷橋鋁合金的市場占有率更高一些,但是塑鋼門窗因價格便宜、耐腐蝕、保溫和隔音性能優異仍被廣泛應用,尤其是在節能方面,塑鋼門窗的先天優勢更為顯著。
塑鋼門窗早在20世紀五十年代末已經在德國出現,我國從1983年才開始引進,在20世紀90年代末開始普及應用。因為單純用未增塑聚氯乙烯(詞條“聚氯乙烯”由行業大百科提供)(PVC-U)型材加工的門窗強度不夠,通常在型腔內添加增強型鋼(俗稱鋼襯)以增強門窗的強度,因此型材內部添加鋼襯制作的塑料門窗通常被稱為塑鋼門窗。隨著塑鋼門窗的廣泛使用,用于制作塑鋼門窗的PVC-U型材習慣上被稱作塑鋼型材。下面我們就塑鋼型材在五金適配和安裝過程中的一些常見問題分析探討一下兩者在結構設計方面的互相影響。
1.塑鋼型材增強型鋼結構設計對五金安裝的影響
PVC型材由于其材料自身的特點,需要在框、扇和中梃的型腔內穿入增強型鋼以防止型材變形和滿足門窗抗風壓(詞條“風壓”由行業大百科提供)要求。然而,增強型鋼的另一個重要作用——增加五金安裝強度,卻往往會被型材設計人員忽視。
在實際的五金安裝過程中,經常會出現五金承重部件打釘部位無鋼襯,自攻釘僅與PVC型材連接的情況。自攻釘與PVC型材連接不僅容易擰脫導致連接失效,而且即使安裝五金時連接牢固的自攻釘也會在用一段時間之后出現松弛,無法再擰緊。很多塑鋼門窗質量問題甚至安全事故都是因為五金件松脫導致的。
PVC型材上自攻釘松脫現象的發生可以歸納為兩個原因,一是PVC型材本身壁厚有限,根據GB/T8814-2017《門窗未增塑聚氯乙烯(PVC)型材》規定,主型材的可視面部分壁厚為A類型材不低于2.8mm,B類不低于2.5mm,也就是說實際使用的普通型材壁厚最厚的部分也基本是不足3mm的,加之PVC材料本身材質較軟,所以自攻釘的絲牙旋入型材后的抓緊力非常有限。二是“應力松弛”效應導致自攻釘的鎖緊力降低。所謂應力松弛,是指在維持恒定變形的材料中,應力會隨時間的增長而減小的現象。自攻釘旋入PVC型材的過程,型材局部材料受到外力擠壓產生了彈性變形,將自攻釘緊緊抱住。但是隨著時間的推移,并受溫度變化和外力的影響,包裹自攻釘材料的內部分子發生蠕變,彈性變形逐漸變成了塑性變形,致使應力逐漸減小直至最終消失,從而進一步加劇了自攻釘的松動。
腔體內增加鋼襯是解決這一問題的有效方法, JG/T131-2000《聚氯乙烯(PVC)門窗增強型鋼》中規定鋼襯材料力學性能不低于Q235,該材料含碳量適中、綜合性能較好,所以在建筑材料和工程結構中應用比較廣泛。雖然碳鋼也存在應力松弛的特性,但是目前市場上金屬材料應力松弛性能的預防和改善技術已非常成熟,可通過熱時效、震動時效、自然時效等多種手段實現金屬制品內部組織和性能的穩定化以消除應力松弛。另外值得一提的是,我國在應力松弛機理與預防技術的開發研究方面均已達到了世界先進水平。所以自攻釘與鋼襯的配合可消除五金安裝不牢固的隱患并能有效提高五金的承重能力,當然前提是確保自攻釘與鋼襯的有效連接。
下面我們以一些常用五金的實例來進行進一步探討。
1.1 外開窗邊框增強型鋼結構對滑撐安裝的影響
對于外平開窗(詞條“平開窗”由行業大百科提供)來說,由于開啟后整個窗扇完全置于室外,所以安全方面的隱患要遠遠大于其他開啟方式,外開窗墜落傷人的事故屢見報端,因此出于安全考慮,相關國家標準和行業標準中并不提倡外開窗使用合頁。甚至有些地方標準如DB11/1028-2013北京市《居住建筑工程技術規范》明確規定:“七層(含七層)以上建筑嚴禁使用外開窗”。由此可見,外開窗的安全性能尤為重要,而對外開窗安全起決定性作用的就是五金的選擇和安裝。目前外平開窗五金普遍采用的是滑撐,滑撐的安裝是通過自攻釘與型材進行連接。對于塑鋼外開窗而言,滑撐安裝是否牢固完全取決于自攻釘是否打入鋼襯。圖1是比較常見的塑鋼外開窗邊框型材節點圖,圖中安裝滑撐的位置恰好是鋼襯的開口部位,自攻釘打入時不能與鋼襯接觸,僅與單層PVC型材進行連接,盡管某些型材腔體內壁專門設計了“螺釘定位結構”以增加螺紋咬合的圈數,但是這并不足以確保滑撐的安裝強度。另外,我們知道根據不同的承重級別和用途,滑撐的寬度規格從18mm到22mm不等,所以即使該型材結構能提高連接強度,也無法使自攻釘都能準確打入該位置。更令人擔憂的是增強型鋼的使用屬于“隱蔽工程”,門窗焊接成型后用戶就無法知曉內部的情況,僅從外觀上無法判斷五金安裝是否牢固。如果這樣的型材用作外開窗,安全性能可想而知。

圖1常見外開窗邊框
GB/T 28887-2012《建筑用塑料窗》5.3.13 明確要求:“安裝滑撐的連接螺釘應全部與框、扇增強型鋼可靠連接”。型材設計不僅要滿足型材自身相關的標準要求,更應該從整窗的角度系統地考慮,型材的設計和五金的選擇都應考慮窗型和開啟方式等因素,不同窗型五金的安裝特點對型材的結構設計來說至關重要。對于增強型鋼的結構設計應根據外窗的抗風壓強度、撓度計算結果和五金安裝需求來進行,圖2為理想的外開窗邊框型材增強型鋼結構。

圖2理想的增強型鋼結構
1.2 角部增強型鋼對五金安裝的影響
盡管塑鋼型材腔體內部加入增強型材可以有效提升型材強度,但是增強型鋼在門窗的組角部位是不連接的。不僅如此,增強型鋼在穿入時一般還會比型材略短一些以避免干擾型材角部焊接。GB/T28887-2012 《建筑用塑料窗》中規定,增強型鋼端頭距型材端頭內角距離不宜大于15mm,且以不影響端頭焊接為宜 (如圖3所示),不過該標準中并沒有對鋼襯端頭的切割角度做出要求,這就給了增強型鋼的切割工藝制定較大的自由度。可能端部切割角度大小對型材強度的影響并不大,但是對某些五金安裝來說影響卻是致命的。

圖3 增強型鋼端頭距型材端頭內角距離
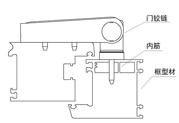
我們來看一下當該尺寸為15mm且端部為常見的垂直切割時平開窗下鉸鏈框上件的安裝情況(圖4)。圖中下鉸鏈為承重加強型規格,背部專門設計了兩個直徑6mm,長度約20mm的鋼銷插入型材用于提高承重能力,而普通承重級別的下鉸鏈鋼銷位置僅為普通自攻釘,這種結構是五金廠家比較通用的做法。從圖中我們可以看出,在實際安裝過程中下部鋼銷的安裝位置內部是沒有鋼襯的。我們知道平開窗的下鉸鏈幾乎承載了整個窗扇的重量,而下鉸鏈的最大受力點就在下部鋼銷附近的轉軸處,可以說下部的鋼銷是否嵌入鋼襯對五金的承重能力和安全性起到了決定性的作用。目前常見的端部直角下料方式對五金安裝非常不利。

圖4 內開窗下鉸鏈框上件安裝位置
對于增強型鋼端部的切割,建議切割角度為45°(與型材切割角度一致),距型材端部的垂直距離控制在5~10mm為宜。這樣即可保證五金的有效連接,又不會影響型材角部焊接,如圖5所示。盡管國家和行業相關標準對增強型鋼切割的要求并不明確,但是企業應從實際應用出發制定相關的企業標準來進行規范。
研發人員在設計型材的過程中,不僅要符合型材的相關標準,還應從五金結構和安裝要求的角度考慮,以滿足門窗整體的要求為目標。國家標準只是對產品要求的底線,我們不應僅滿足于符合國家標準,各組成部分的裝配方式和內在聯系是需要研發人員去潛心鉆研和摸索的。

圖5 增強型鋼端部角度和距離
2.五金設計應考慮型材結構特點
PVC材料的特點決定了它在抗變形、耐老化、耐火等方面不如鋁合型材,所以合理、有效地利用增強型鋼才能發揮塑鋼門窗的優勢。五金設計人員應熟練掌握型材結構,系統考慮兩者的聯系,使五金與型材融為一體。
2.1 鎖座應與增強型鋼有效連接
歐標塑鋼平開門窗五金的框上件安裝主要是以寬度4mm的“鎖座定位槽”作為定位,對于平開鎖座的安裝大都是將自攻釘打入槽口位置,如圖6所示。根據塑鋼型材的結構特點,此處腔體無法使用增強型鋼,鎖座的固定僅通過單層PVC型材壁進行連接,并且目前市場上普通的平開窗鎖座基本都是由一顆自攻釘連接,這就會導致鎖座的安裝強度大打折扣,嚴重影響門窗的密封性能、抗風壓性能甚至安全性。
作為框扇連接的關鍵性配件,鎖座的結構設計應重點考慮其與增強型鋼的有效連接,尤其是對于一些特殊場合如風壓大、開啟扇大,或有耐火、耐沖擊等要求時鎖座的連接強度對門窗整體性能的影響尤為重要。圖7為增強型鎖座,在增加自攻釘數量的同時,確保了自攻釘與增強型鋼的有效連接。其實不僅是鎖座,其他承受載荷的五金件在結構設計時也應考慮是否能達到與增強型鋼的有效連接。
在五金設計的過程中我們需要注意,自攻釘連接存在較明顯的“群體效應”,即自攻釘的連接強度受連接基體材質、自攻釘排列方式、排列間距等因素的影響,并非一定是越多越好。有限的空間內設計過多的螺釘孔或者不合理的螺釘孔排列方式反而會起到適得其反的作用。因此理想的設計方案通常離不開親身實驗,豐富的實踐經驗和充足的實驗數據是產品研發的有力保障。

圖6 普通鎖座的安裝示意 圖7 增強型鎖座的安裝示意
另外,在框上五金設計時需要注意的是,不同廠家的框型材“臺高”(圖6中尺寸H)有所不同,常見的尺寸為3mm、4mm、6.5mm等,五金結構需要根據該尺寸的大小來設計,以確保與型材的完全貼合,因此很多五金廠家不得不為同一款產品開發不同的厚度規格以適配不同廠家的型材,這無形中造成了很大浪費,同時也間接的增加了門窗的成本。有些五金廠家通過使用墊片的方式解決這一問題,盡管材料成本有所降低,但同時也降低了五金安裝效率。因此型材設計的通用性、規范性對整個門窗結構的意義非常重大。當然,對于一些系統門窗廠家為了提升門窗性能而開發的非常規結構的型材,則更不應采用先設計型材后適配五金的傳統方式,更需要注重相互協作進行同時開發。
2.2 框上五金件防止槽內竄動的結構設計
安裝于邊框的五金件,通常都是實現扇啟閉功能的關鍵部件,承受載荷的能力與精確的安裝位置都非常重要。在日常頻繁的外力作用下怎樣才能更好的確保五金功能完好呢?我們還是以普通的鎖座為例進行分析。

圖8 鎖座受力示意圖
由于鎖座背面有用于安裝的凸臺結構,當鎖座安裝之后,型材槽口的卡接可以大大提升鎖座承受載荷的能力。但是對于圖8中所示的三個方向的力,型材所起的固定作用卻很有限,我們知道鎖座的功能是與鎖點配合實現扇的啟閉,在這個過程中鎖座與鎖點摩擦產生的沿槽口方向的力F2、F3會對自攻釘產生較大剪切力,頻繁的受力很容易使自攻釘松動而導致鎖座的竄動。從上文分析我們了解到,可以通過增加自攻釘數量并實現與增強型鋼的有效連接來提升鎖座安裝強度,但是受安裝空間、材料成本和產品設計風格等因素的影響,仍會有很多五金廠家采用單螺釘安裝的鎖座,因此對于這種結構的鎖座,需要在安裝方面進行改善和加強。
鎖座安裝的牢固程度主要取決于自攻釘的連接強度。但是我們知道該部位型材腔體內無鋼襯,想通過鋼襯提升強度是做不到的,不過根據型材設計規范的要求該部位型材內部會設計內筋,如果能使自攻釘打透內筋也可明顯提升鎖座安裝強度,那么安裝鎖座時采用多長的自攻釘才能打穿型材內筋呢?JG/T176-2015 《塑料門窗及型材功能結構尺寸》中對塑鋼門窗型材腔體內筋位置做了規定,在這里我們著重關注一下鎖座定位槽處的內筋位置要求,該標準規定內筋中心到鎖座定位槽口的尺寸為:平開窗15~18.5mm,平開門18.5~24.5mm,如圖9、圖10所示。我們知道塑鋼鎖座的高度通常為8mm,計算時需要去除自攻釘尖部的尺寸約5mm,由此我們可以得知平開窗和平開門安裝鎖座理想的自攻釘長度,分別為不小于31.5mm和不小于37.5mm,滿足這個尺寸的自攻釘才能打穿腔體內筋,最大限度地提升鎖座的安裝強度。

圖9 平開窗型材結構 圖10 平開門型材結構
對于該部位型材內筋的設計,其實更重要作用是增加型材的強度。這一作用單從型材結構上來看可能并不明顯,但是對于某些五金的安裝卻意義重大。下面我們以普通的平開門三維鉸鏈為例進行一下分析(圖11),平開門鉸鏈可以說承載了整個門扇的重量,并且在門扇啟閉過程中,鉸鏈的受力狀況是一個變化的過程,尤其是在門扇開啟到90°左右時,框型材極有可能在門扇強大的重力作用下發生局部變形,而此時腔體內筋的支撐作用可以有效提升型材抗變形的能力。可以說一條看似不起眼的內筋不僅改善了五金的安裝強度,而且大大提升了整個門窗的性能。

圖11 平開門鉸鏈安裝示意圖
通過這個例子我們發現,型材結構、五金的設計和安裝方式都是相互關聯的,五金的設計不能僅滿足于實現五金的基本啟閉功能,應結合型材材質、結構和工藝的特點,設計出包含結構、工藝、性能、安裝、使用壽命等條件均滿足要求的一整套解決方案。其中任何一項做不好都會使最終結果大打折扣;任何一個看似不起眼的結構被忽視,都有可能產生超乎想象的蝴蝶效應。
從以上的論述中,我們可以看出,型材與五金的研發不應該是獨立進行的,他們之間的互相影響和密切聯系充分說明了協作開發的必要性。一直以來,很多傳統的門窗從業者認為“五金是為型材服務的”,五金的研發就是根據型材的結構進行適配,只要五金能安裝就說明型材沒問題……,正是這些思想導致了傳統門窗行業的落后和長期存在的各種問題。未來型材和五金的研發不應該是先設計再適配,而應該是同時進行的,這樣才能有效避免出現短板。我們常說五金是門窗的“靈魂”,因為有了它門窗才能活起來,可是美好的靈魂需要加上健康的身體才是完整的生命。
其實并非只是型材和五金如此,整個門窗行業未來的研發模式,也應該是門窗各要素之間的協同研發,這里指的“協同”并非是簡單的兩個或多個單位之間的合作或者資源共享,而是研發人員應該努力使自己站在更高的高度,放眼全局,系統的考慮型材、五金、膠條、玻璃、附件甚至加工工藝之間的互相影響,放大它們的內在關聯性,實現1加1大于2的效果,使開發的每一款產品不再是各組成部分的簡單堆砌,而是系統中各元素的完美結合。
參考文獻
李憶蓮.冷拔碳素鋼絲制彈簧松弛穩定性能及松弛機理研究.金屬科學與工藝,1987,6(3):22~30
蘇德達.彈簧(材料)應力松弛規律性研究及預防技術開發.全國22個一級學會組織頒發的科研項目成果一等獎,編號:0113.北京,1992-12
金日光、黃慧金、周淑梅 關于高分子材料在應力松弛過程中應力-時間關系的研究 1996
李元齊 潘斯勇 自攻釘連接承載力(詞條“承載力”由行業大百科提供)研究現狀 同濟大學建筑工程系 上海
JG/T131-2000《聚氯乙烯(PVC)門窗增強型鋼》
GB/T8814-2017《門窗未增塑聚氯乙烯(PVC)型材》
GB/T28887-2012 《建筑用塑料窗》
GB50018-2016《冷彎(詞條“冷彎”由行業大百科提供)薄壁型鋼結構技術規范》
JG/T176-2015 《塑料門窗及型材功能結構尺寸》