
設定參數: 材料為65Mn, 彈性模量E=196 GPa, 線寬b=2.4mm, 線厚度t=3.5mm,門扇最大開啟180°狀態時扭簧扭轉角度α=360°,有效圈數n=17.5,中心直徑D=15.3。

由公式(3)可得出:

導向桿的強度核算:對于等截面圓軸,其最大切應力maxτ發生在max T所在截面的邊緣上。因而強度條件的公式:

因為扭力是由扭簧傳遞到導向桿,所以導向桿最大扭矩max T=12554N.mm,導向桿直徑D=8.5mm,材料為45#碳素鋼,其 由公式(4)可得出:

導向桿的許用切應力
因此導向桿的結構強度是安全可靠的。
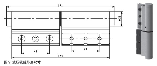
2.4 液壓鉸鏈的安裝、使用和調節鉸鏈的安裝與普通平開門鉸鏈安裝類似,直接用螺釘將合頁與預裝的壓板連接。此鉸鏈分左右,安裝時需分清左右方向。鉸鏈安裝位置距離門的頂端下,底端上200mm 的位置為宜(見圖9 鉸鏈外形尺寸)。為方便安裝,在扇活頁位置設有內六角緊定螺釘,它的作用就是起到扭簧的離合功能。在拆卸這只螺釘前合頁的扭簧功能處于失效狀態,框扇活頁可以隨便轉動。安裝時需注意尾部帶調節螺釘及調節標識的一端為框活頁必須裝在下方。裝好后試開門扇確保無阻礙和噪音,然后將門開到90° -180°范圍內,用內六角扳手將內六角緊定螺釘拆下。當門扇完成一次關閉過程時扭簧閉門器功能即可開啟。最后通過調節調速螺栓可控制門扇關閉所需時間。
3. 結論
液壓鉸鏈巧妙的結合了普通門鉸鏈與閉門器的功能,結構緊湊、體積小、重量輕、造型美觀、安裝便利,在一定程度上節省了成本。同時因為這種鉸鏈在鋁合金門合頁中是個新型產品,它既不能適用JG/T125-
2007《建筑門窗五金件 合頁(鉸鏈)》,也不能適用QB/T2698-2005《閉門器》的檢測標準,所以在產品檢測上面還處于一個空白。為了更好的推廣這款新型的液壓鉸鏈,希望能得到同行及協會的支持,完善或起草相關的產品標準,共同促進行業的技術進步。
參考文獻
[1] 《材料力學》. 科學出版社;
[2] JG/T125-2007.《建筑門窗五金件合頁(鉸鏈)》
[3] QB/T2698-2005.《閉門器》
[4] 《機械設計手冊》第五版. 化學工業出版社
上一頁12下一頁